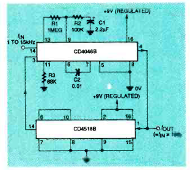
Este circuito multiplica la frecuencia de una señal por 100. El circuito fue encontrado en la edición de octubre de 1994 de la revista Electronics Now. El PLL no funciona por encima de aproximadamente una docena de megahertz.
Un indicador tipo "bargraph" o de barra móvil con 4 LEDs puede ser implementado conectando las...
El circuito presentado hace que las lámparas de 5 a 100 vatios parpadeen con el ritmo de la música de...
Con este circuito podemos accionar un relé a partir de señales muy débiles de audio o de corriente...