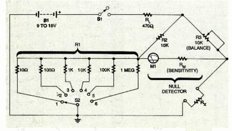
Encontramos este circuito en la edición de septiembre de 1995 de la revista Electronics Now. El circuito tiene 6 escalas para medidas de resistencia y utiliza un indicador analógico de 50 uA a 1 mA.
El circuito integrado TL431 consiste en un regulador shunt programable con un amplificador operacional...
Si bien es una configuración común todavía hoy, este circuito se ha retirado de una publicación antigua....
Este circuito salió en una publicación inglesa de 1973, pero se puede montar fácilmente utilizando un...