Este circuito es sensible al calor, pudiendo servir de alarma de sobrecalentamiento de piezas, incendio o incluso cortocircuito. Con el calor, el sensor, que es un simple diodo, conduce la corriente y hace encender un LED de advertencia. El sensor puede ser cualquier diodo y el sistema funciona seguramente a temperaturas de hasta 120º C, aproximadamente.
Además de este valor se produce el encendido del LED, pero el sensor puede estropearse.
El funcionamiento de este miniproyecto es simple: la resistencia de un diodo común disminuye con su calentamiento, cuando se polariza en sentido inverso.
Usando tres transistores amplificadores podemos aumentar la intensidad de la baja corriente que fluye en el diodo en estas condiciones de calor y así obtener el accionamiento de un LED de advertencia.
La temperatura en que ocurre el encendido del LED depende del diodo usado, pudiendo hacerse experimentos con tipos tales como el 1N4148, 1N914, 1N4001, BY127, 1N34 etc.
La alimentación del circuito viene de 4 pilas comunes y el LED así como el sensor pueden ser remotos. Para el sensor es conveniente usar cable blindado pues el ruido ambiente puede provocar un falso accionamiento del led.
MONTAJE
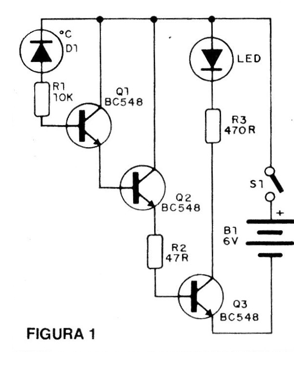
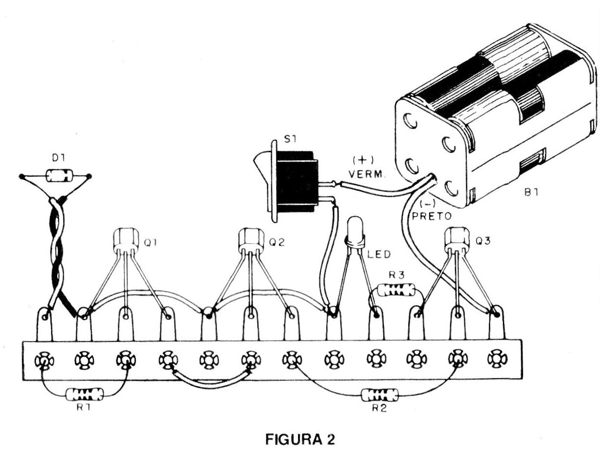
En la figura 1 tenemos el diagrama completo del aparato y en la figura 2 el montaje del aparato teniendo como base un puente de terminales.

Una aplicación interesante para este circuito y en la detección del calentamiento de planchas de soldadura.
Instale el diodo sensor en el soporte de su plancha de soldar, cuando calienta el LED se enciende avisándole que está listo para su uso.
LISTA DE MATERIAL
Q1, Q2, Q3 - BC548 o equivalente - transistores de uso general
D1 - sensor (cualquier diodo)
LED - LED rojo común
B1 - 6 V - 4 pilas pequeñas
S1 - interruptor simple (optativo)
R1 - 10 k x 1/8 W-resistor (marrón, negro, naranja)
R2 - 47 ohms - resistor (amarillo, violeta, negro
R3 - 470 ohms - resistor (amarillo, violeta, marrón)
Varios: soporte para 4 pilas, puente de terminales, hilos, soldadura, etc.




