Girando un pequeño motor con la ayuda de un volante, producimos un sonido similar al de una sirena el cual será amplificado por un circuito electrónico. Este proyecto puede servir para diversas aplicaciones interesantes como, por ejemplo, la instalación en bicicletas, juguetes o para efectos especiales en estudios y grabaciones.
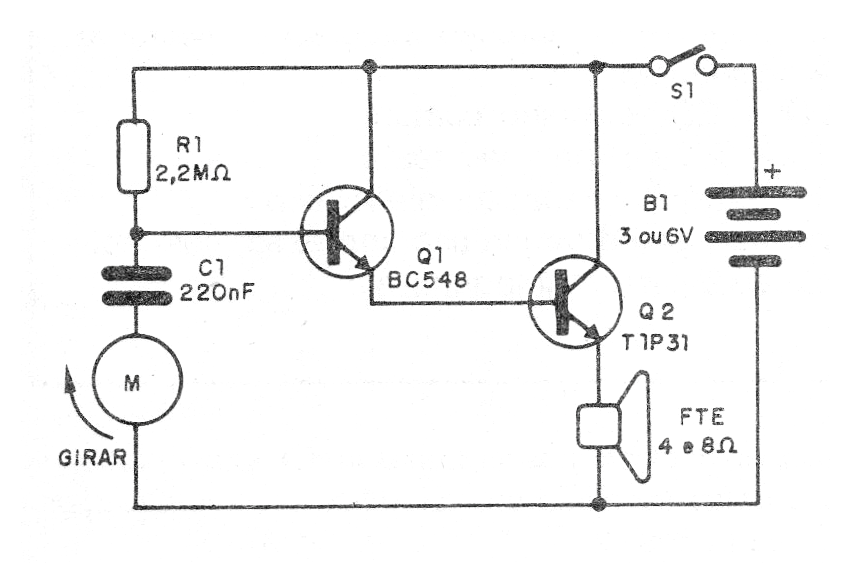
El circuito consta de un motor común de corriente continua que, al girarse, funciona como un pequeño dínamo produciendo una corriente cuya frecuencia depende de su velocidad. Esta corriente es amplificada por un circuito con dos transistores complementarios que excita directamente un pequeño altavoz.
En la versión básica el circuito se alimenta con 3 o 6 V, pero para obtener mayor volumen podemos hasta alimentarlo con 12 V.
El diagrama de la figura 1 muestra que son pocos los componentes utilizados.
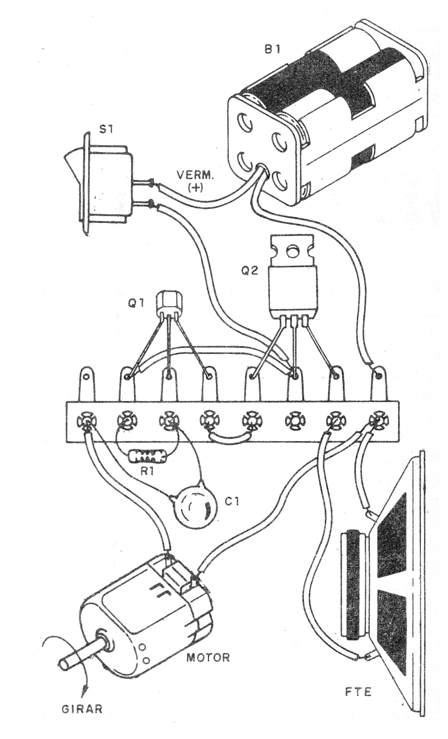
El circuito se monta en un puente de terminales. Para alimentación con 12 V el transistor Q2 debe montarse en un radiador de calor. Para mayor rendimiento el altavoz debe ser de buen rendimiento. En la figura 2 tenemos el montaje en puente.
Para obtener un efecto sonoro mejor, que se asemeja al de una sirena alerta de bombardeo, como usada en la segunda guerra, podemos acoplar un pequeño volante al eje del motor, como muestra la figura 4.
Impulsando este volante, el efecto sonoro será interesante.
Lista de material
Q1 - BC548 - transistores NPN de uso general
Q2 - TIP31 - transistores NPN de potencia
M - motor de corriente continua pequeño
S1 - Interruptor simple
B1- 3 V a 12 V - pilas o fuente
FTE - Altavoz de 4 u 8 ohms pesado
R1 - 2,2 M ohms x 1/8 W - resistor - rojo, rojo, verde
C1- 220 nF a 470 nF - capacitor de cerámica o poliéster
Varios: soporte de pilas o fuente, volante, puente de terminales, radiador de calor, hilos, soldadura, etc.






