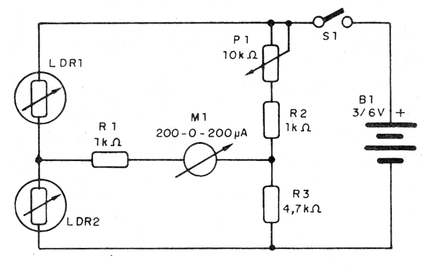
Con este circuito es posible hacer la comparación de tonos de tintas, intensidad de fuentes luminosas o de grados de iluminación. El circuito consiste en un puente usando sensores dos LDR. Cuando las intensidades de luz en los LDR se igualan el puente equilibra con la indicación de nulo en el instrumento, un microamperímetro con cero en el centro de la escala.
El circuito también se puede utilizar con una escala de comparación en el potenciómetro. La alimentación se puede realizar con tensiones de 3 o 6 V obtenidas de pilas comunes de cualquier tamaño. En la figura 1 tenemos el diagrama completo del comparador.
El circuito se puede montar en un puente de terminales aislados, como se muestra en la figura 2.

Lista de material
R1, R2 - 1 k ohms x 1/8 W - resistores - marrón, negro, rojo
R3 - 4k7 ohms x 1/8 W - resistor - amarillo, violeta, rojo
P1- 10 k ohms - potenciómetro
LDR1, LDR2 - LDR redondos comunes
S1 - Interruptor simple
M1 - 200-0-200 uA 0o 50-0-50 uA - microamperímetro con cero en el centro de la escala
B1 - 3 V o 6 V - 2 o 4 pilas de cualquier tamaño
Varios: soporte de pilas, puente de terminales, caja para montaje, botón para el potenciómetro, hilos, soldadura, etc.




