Utilizando un SCR en lugar del transistor podemos hacer una alarma de corte de luz con traba, o sea: cuando la luz es cortada el relé dispara y así permanece aunque la luz sea restablecida en el LDR. El circuito es muy sensible y puede ser utilizado como alarma, en demostraciones y en muchas otras aplicaciones, tales como un sensor de falta de luz con "memoria".
El circuito completo de la alarma se muestra en la fig. 1.
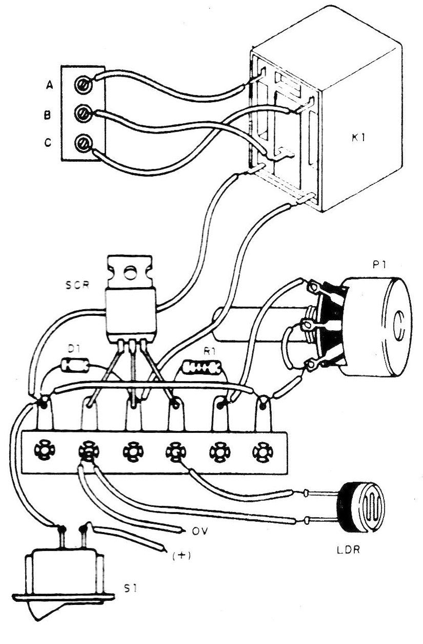
En la figura 2 tenemos su montaje en un puente de terminales.
El circuito controlado se conecta a los contactos B y C si se desea que se active con el corte de luz.
El SCR produce una caída de tensión de 2 V cuando conduce, de ahí usar el relé de 6 V cuando la alimentación.
LISTA DE MATERIAL
SCR - TlC106 - para cualquier tensión arriba de 50 V
D1 - 1N4148 - diodo de silicio
K1 - 6 V si la alimentación es de 9 V y 12 V si la alimentación es de 12 V (ver texto)
P1 - 1 M ohms - pote o trimpot
LDR - LDR redondo de 1 ó 2,5 cm
S1 - interruptor simple
B1 - 9 V o 12 V - pilas o fuente
R1 - 10 k ohms x 1/8 W - resistor (marrón, negro, naranja)
Varios: puente de terminales, caja para montaje, botón para el potenciómetro, etc.





