Esta radio de cristal es una versión más moderna del Radio de Galena, pues el cristal de galena (difícil de obtener actualmente) es sustituido por un diodo de germanio o incluso de silicio. El auricular debe ser de cristal y la antena más larga posible, pues la energía que alimenta el circuito se extrae de las propias ondas captadas.
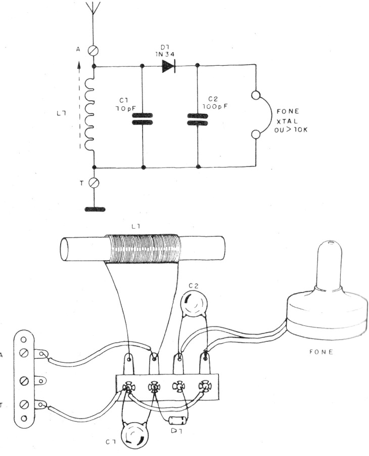
Un hilo estirado de 5 a 40 metros es ideal. Puede ser encapado. La conexión a tierra se puede hacer en cualquier objeto de metal o una barra de metal enterrada. La bobina consta de 100 vueltas de alambre esmaltado de 26 a 30 de espesor en un tubo que se colorea sobre un bastón de ferrita de 0,6 a 1 cm de diámetro y de 12 a 20 cm de longitud.
Desplazándose el bastón en el interior del tubo se hace la sintonía de la estación deseada. El auricular puede ser de cristal o una cápsula piezoeléctrica de teléfono o similar. No se deben utilizar auriculares de baja impedancia.
En la figura 1 tenemos el circuito y el montaje del receptor en un puente de terminales.
Materiales:
D1 – 1N34 – diodo de germânio
L1 – ver texto
C1 – 10 pF – capacitor cerâmico
C2 – 100 pF – capacitor cerâmico
Vários: puente de terminales, auricular magnético de alta impedância o cristal, hilos, etc.




