Cuando se habla de oscilador de relajación, pronto se piensa en los transistores unijuntura que, a pesar de ser extremadamente versátiles, por su antigüedad ya no son muy fáciles de obtener.
Sin embargo, lo que tal vez muchos lectores no sepan es que es posible simular un transistor unijuntura con dos transistores bipolares y elaborar un interesante oscilador para bajas frecuencias.
Este oscilador, que puede generar señales de 0,001 Hz a 10 kHz típicamente, tiene su circuito mostrado en la figura 1.

La alimentación debe realizarse con tensiones de al menos 12 V y la frecuencia se determina por R y C1 según la fórmula aproximada junto al diagrama.
Esta fórmula es aproximada tanto en función de las tolerancias de los componentes de tiempo como de las propias ganancias de los transistores usados.
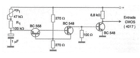
La señal generada por este oscilador puede disparar fácilmente entradas de contadores CMOS si se utiliza un transistor controlador adicional, como se muestra en la figura 2.

Una placa de circuito impreso para el montaje del oscilador se da en la figura 3, si el lector desea implementarlo de forma independiente.

Los transistores equivalentes se pueden utilizar y los valores de R y C1 indicados son los límites recomendados.
R puede ser reemplazado por un resistor de 47 k ohms en serie con un potenciómetro o trimpot de 1 M para obtener un oscilador de frecuencia variable.
Lista de material
Q1 - BC558 - transistores PNP de uso general
Q2 - BC548 - transistores NPN de uso general
R - ver texto - resistor
C1 - ver texto - capacitor
R1 - 100 ohms x 1/8 W - resistor
R2, R3 - 270 ohms x ½ W - resistores
Varios:
Placa de circuito impreso, hilos, soldadura, etc.



