En realidad, esta es una experiencia que permite demostrar el principio de funcionamiento de los transformadores, elevando la tensión de una o dos pilas (1,5 a 3 V) lo suficiente para ionizar el gas dentro de una lámpara fluorescente (200 V o más).
Como el circuito sólo se mantiene activado mientras se está frotando el hilo en el archivo X1, no es muy cómodo mantener permanentemente una lámpara encendida utilizando ese experimento. El aparato sólo sirve para demostraciones, para producir flashes de corta duración en cada frotada.
El circuito consta simplemente de un transformador, una lámpara fluorescente y una o dos pilas comunes. En el transformador aplicamos una baja tensión en el devanado primario a partir de una o dos pilas. Esta tensión se eleva, y en el secundario obtenemos cientos de voltios, suficiente para producir destellos de una lámpara fluorescente común.
En este proceso de transformación de energía es dinámico, es decir, la corriente necesita tener variaciones bruscas, que se logran frotando el hilo en un archivo. De otra forma, conectando directamente el hilo en el transformador, por ejemplo, como no ocurren variaciones de la corriente, nada sucede.
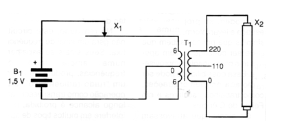
En la figura 1 tenemos el diagrama completo del circuito que utilizamos en la experiencia.

En la figura 2 tenemos la disposición real de los componentes usados.

La pila debe ser grande, pues como necesitamos una corriente algo intensa, una pila pequeña se agotaría rápidamente. También se pueden utilizar dos o cuatro pilas en serie, con mayor "potencia" para el circuito.
El transformador puede ser de cualquier tipo que tenga un enrollamiento de alta tensión (110 V o 220 V o doble) y secundario de tensiones entre 4 y 12 voltios con toma central o no, y corrientes a partir de 100 mA.
La lámpara fluorescente puede ser de cualquier tipo, incluso las que ya estén muy débiles para encenderse en la instalación eléctrica normal. Las lámparas superiores a 20 vatios, sin embargo, pueden encenderse con más dificultad.
X1 es un archivo común aburrido en el que se frota la punta del hilo que está soldado en el polo positivo de la pila.
Para hacer la experiencia es sólo frotar el hilo en el archivo. La lámpara debe parpadear a cada fregadela, indicando la inducción de alta tensión en el transformador. ¡Cuidado de no tocar los hilos de la fluorescente, ya que incluso alimentado por pilas, el transformador genera la alta tensión y el choque no es débil!
No deje el hilo permanentemente apoyado en el archivo, ya que esto además de no inducir corriente en la lámpara fluorescente, causa el rápido agotamiento de la pila.
Puede utilizar este aparato como telégrafo o indicador óptico, instalando la lámpara en un lugar que se pueda ver a distancia.
LISTA DE MATERIAL
B1 - 1,5 a 3 V - 1 o 2 pilas grandes
X1 - Lima plana (interruptor intermitente - ver texto)
T1 - Transformador con primario de 110 o 220-V y secundario de 6 + 6 V x 300 mA - ver texto (ese transformador va a trabajar invertido, pues el primario hará las veces de secundario)
X2 - Lámpara fluorescente de 4 a 20 vatios - ver texto
Hilos, soldadura, etc.



