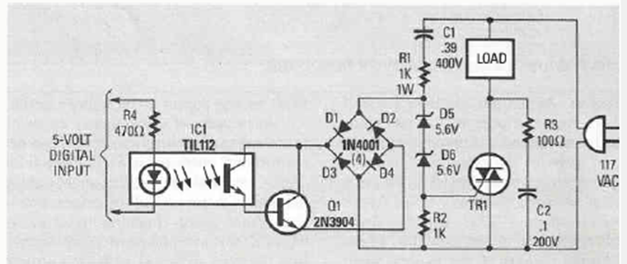
Este escudo de disparo de onda completa se encontró en la revista Radio Electronics Experimenter de 1989. El Triac debe adaptarse a la carga que se va a controlar.
Encontramos este circuito con una resistencia de entrada muy alta en una documentación antigua. El...
Este amplificador de transistor no utiliza una fuente con un transformador alimentado directamente por la...
Conveniente para la operación con micrófonos de alta impedancia, este circuito se encontró en la...