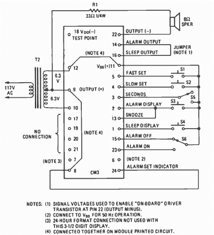
Este circuito es de un módulo de reloj digital Fairchild que se muestra en la revista Radio Electronics de marzo de 1977. El circuito requirió pocos elementos externos, incluido un transformador común.
Los peces pueden ser atraídos por el zumbido que imita el debatir de un insecto en el agua. Este...
Los reguladores de tensión de 5 a 15 V para las corrientes de 1 A, se pueden obtener fácilmente en forma...
Utilizando como base un transistor PNP de germanio o silicio de cualquier tipo, aprovechado de...