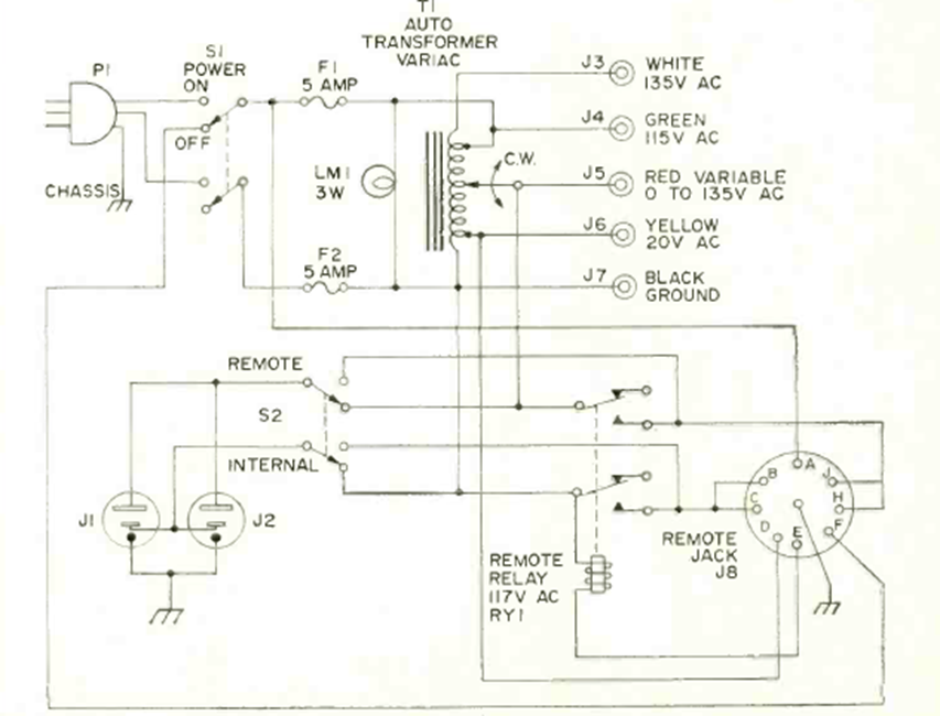
Esto representa un circuito autotransformador muy útil en el banco. Lo encontramos en la revista Radio Electrónica de septiembre de 1970. El transformador debe ser acorde con lo que se quiere suministrar en la salida.
El circuito presentado en la figura 1 posibilita el control de motores de corriente continua de varios...
El principio de funcionamiento de este circuito es el mismo que el de un cargador convencional de...
Este oscilador TTL utiliza un resonador cerámico como elemento de fijación de la frecuencia. El...