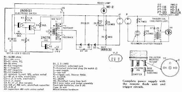
Este circuito fue encontrado en la revista Radio Electronics de abril de 1960. Estaba en un artículo que enseñaba cómo montarlo. El circuito funciona con baterías.

Este circuito fue encontrado en la revista Radio Electronics de abril de 1960. Estaba en un artículo que enseñaba cómo montarlo. El circuito funciona con baterías.
