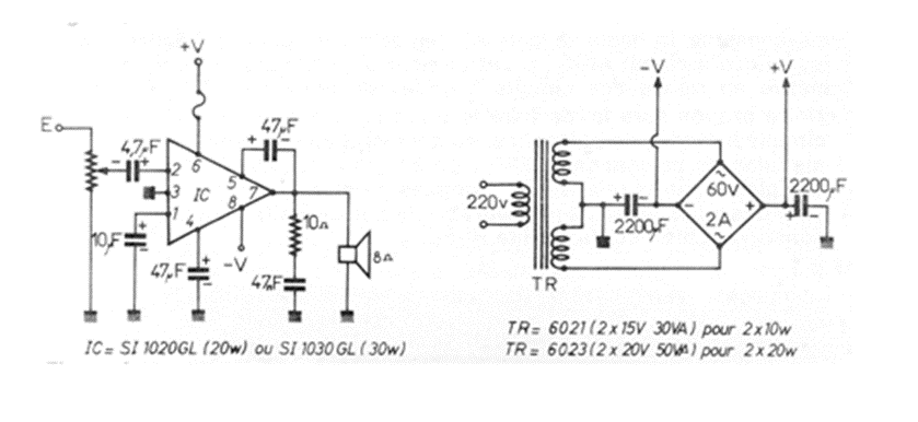
Este amplificador utiliza módulos híbridos Sanken que todavía se pueden encontrar en algunos proveedores, ya que también se utilizan en circuitos de automatización y control. Puede proporcionar potencias de 20 o 30 W, dependiendo del módulo utilizado y de la fuente de alimentación. El circuito requiere una placa bien planificada y una buena área de disipación para el módulo híbrido. La calidad de sonido obtenida es excelente ya que el módulo se utilizó en varios productos comerciales de la época (años 70 y 80).




