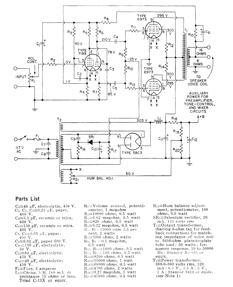
El circuito del amplificador de audio de 4 válvulas presentado fue encontrado en el Manual de Válvulas RCA, edición de 1971. Este amplificador de excelente calidad proporciona 15 W rms de potencia en cargas de 8 ó 16 ohms, según las tomas usadas del transformador. Además de las válvulas, los componentes críticos del proyecto son los transformadores que deben tener las características de la lista de material mantenida en inglés conforme al original. El amplificador tiene una salida de alimentación auxiliar para alimentar circuitos preamplificadores y mezcladores. Dos canales similares formarán un excelente sistema de alta fidelidad.




