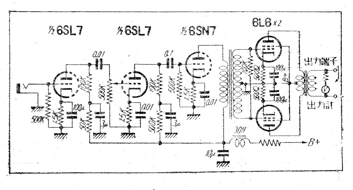
Este buen amplificador con las válvulas 6L6 proporcionando algunas decenas de vatios fue encontrado en una publicación japonesa de los años 50. La fuente de alimentación dada en el V729S debe proporcionar una tensión de 450 V. El circuito tiene salida en clase B push-pull.




