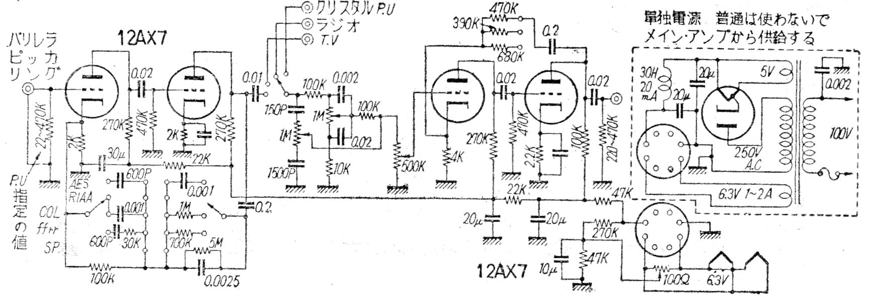
El artículo que describe el montaje de este preamplificador amplificador fue encontrado en la traducción japonesa de una documentación americana. El circuito del amplificador de 13 W que lo acompaña se da en el V702. El circuito incluye la fuente de alimentación.




