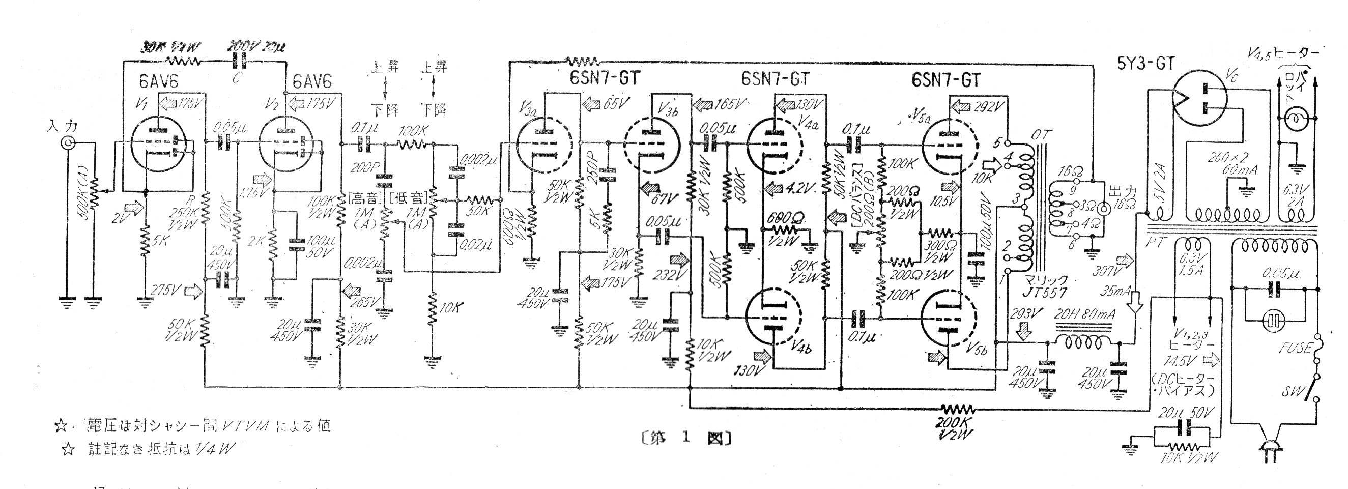
Este potente amplificador de alta fidelidad fue encontrado en una revista técnica japonesa de 1955, la versión traducida de la Radio Experimenter's Magazine de Estados Unidos. El circuito tiene una excelente configuración para la época con transformadores especiales que garantizan la calidad de sonido.




