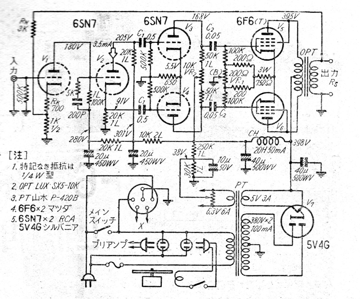
Este buen amplificador de audio fue encontrado en una publicación japonesa de 1955. El circuito tiene salida en push-pull proporcionando algunas decenas de watts. Se incluye la fuente de alimentación.
Las radios transistorizadas simples se pueden hacer en infinitas configuraciones. Presentamos una...
Este reforzador de señales permite mejorar la recepción de su radito de ondas medias y cortas (no...
Muchos proyectos que hacen uso de transistores y circuitos integrados son alimentados por una...