Es una broma muy interesante que se puede hacer con la ayuda del circuito propuesto: una lámpara incandescente común que se enciende con un fósforo (o encendedor) y apaga un soplo.
El truco es el LDR que comanda el circuito y que hace l lámpara encendida cuando recibe la luz del fósforo.
La luz de la lámpara lo realimenta, manteniendo la luz encendida.
Para apagar, soplamos y "sofocamos" la lámpara de nodo que la iluminación del LDR sea interrumpida.
El conjunto debe instalarse en una caja como se muestra en la figura 1.
Tenga en cuenta que el LDR se coloca para recibir la luz de la lámpara.
El agujero para el paso de la luz debe ser muy pequeño para no despertar "sospechosas" en las personas a las que vamos a mostrar la lámpara.
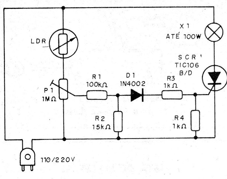
En la figura 2 tenemos el diagrama completo del aparato.
En la figura 3 tenemos el montaje de los componentes teniendo como base un puente de terminales.
Para demostrar el aparato, diga que "tiene una lámpara que se enciende con fósforo y se apaga con soplo".
Para ello, debe calibrarla de la siguiente manera: coloque la caja de modo que la luz ambiental no alcance el agujero del LDR.
Ajuste P1 para que la lámpara quede encendida.
Aproximando entonces un fósforo del lado de la lámpara como quien fuera a encenderla, pero hacia el LDR.
La lámpara debe brillar.
La propia luz de esta lámpara se encarga de alimentar el LDR manteniéndola encendida.
Para apagar finja que va a soplarla, pero para ello la ablanda colocando la mano en concha como muestra la figura 4.
Haciendo esta operación al mismo tiempo que sopla la luz el LDR va a ser interrumpido y la lámpara se apagará.
LISTA DE MATERIAL
SCR - TIC106B (red de 110 V) o TlC106D (red de 220 V)
D1 - 1N4002 - diodo de silicio
LDR - 1 o 2,5 cm - LDR común
X1 - lámpara incandescente de 40 o 60 vatios
P1 - 1 M ohms - trimpot o pote
R1 - 100 k ohms; x 1/8 W-resistor (marrón, negro, amarillo)
R2 - 15 k ohms x 1/8 W - resistor (marrón, verde, naranja)
R3 y R4 - 1 k ohm x 1/8 W - resistores (marrón, negro, rojo)
Varios: puente de terminales, cable de alimentación, zócalo para la lámpara, caja para montaje, tíos, soldadura, etc.







