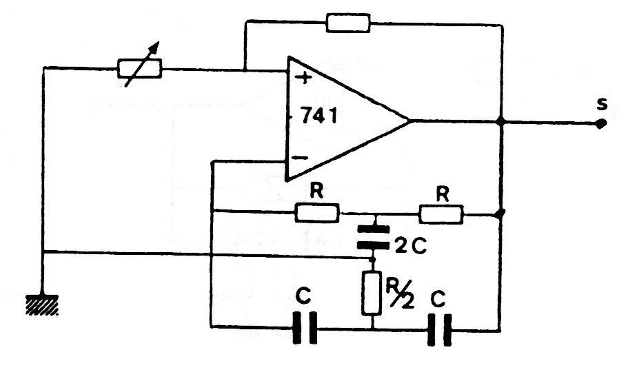
Este circuito aparece con variaciones en otros puntos de esta sección. Esta versión es de una documentación europea de los años 80 y el circuito debe ser alimentado por una fuente simétrica. La frecuencia depende de C y se ajusta en el potenciómetro (100 k). El resistor sin valor puede ser de 100 k a 1 M.




