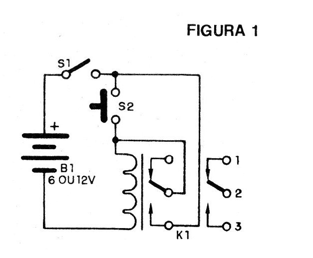
Este sistema permite bloquear un relé con un simple toque en un interruptor de presión. Podemos utilizar esta sencilla configuración en alarmas con pulsadores (interruptores de presión), micro-switches o reed-switches.
La idea es bastante simple, como podemos ver en el diagrama. Cuando presionamos S2 por un momento, uno de los contactos del relé se utiliza para energizar la bobina, manteniéndola así después de que se desconecte S2. (figura 1)

Las otras conexiones de contacto en (1), (2) y (3) se pueden utilizar para controlar una carga externa.
Si la tensión de alimentación es de 6 V usamos un relé para esta tensión y si la tensión de alimentación es de 12V usamos uno con la misma tensión.
También tenemos la posibilidad de usar relés de 110V o 220 V en la misma configuración.
La corriente máxima de los contactos es de 2 A.
Para desactivar el circuito, basta con desconectar momentáneamente S1.
En la figura 2 tenemos el montaje en su aspecto real con la identificación de los terminales del relé.
Vea que no es necesario observar la polaridad de la fuente de alimentación en este montaje.




