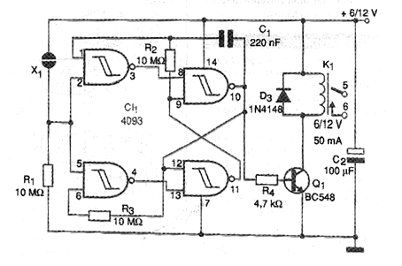
A diferencia del circuito mostrado en la figura, en relación al CIR8144r, es que utiliza un sensor sólo para encender y apagar un relé. Con un toque el relé se activa y con un nuevo toque el relé se desactiva. En este circuito un flip-flop un poco diferente en el que la red formada por R2, R3 y C1 determina una acción biestable con sólo un sensor. El relé debe tener bobina de acuerdo con la tensión de alimentación y corriente máxima de 50 mA. El resistor R1 puede tener su valor aumentado para más sensibilidad y el sensor es igual al del proyecto anterior. En la alimentación se deben utilizar pilas o baterías. Si se utiliza la fuente, debe aislarse de la red de energía.

Lista de material
CI-1 - 4093 - circuito integrado CMOS
Q1 - BC548 o equivalente - transistores NPN de uso general
D1 - 1N4148 o equivalente - diodo de uso general
R1, R2, R3 - 10 M ohms x 1/8 W - resistores - marrón, negro, azul
R4 - 2,2 k ohms x 1/8 W - resistor - rojo, rojo, rojo
K1 - Relé de 6 o 12 V con 50 mA
X1 - sensor - como en el proyecto anterior
C1 - 220 nF - capacitor de poliéster
C2 - 100 uF x 16 V - capacitor electrolítico
Varios:
Matriz de contactos o placa de circuito impreso, fuente de alimentación, pilas o batería, hilos, soldadura, etc.



