Las baterías de 9 V (principalmente las alcalinas) están costando los ojos de la cara! Y algunos aparatos que utilizan este tipo de batería son realmente monstruos hambrientos, que los agota en poco tiempo.
Si el reproductor tiene algún juguete, algún radito, u otro equipo que utilice baterías de 9 V, y no aguanta más sostenerlo, no lo juegue foral Con este eliminador usted puede no tener la misma movilidad para su uso, pero ciertamente hará una buena economía.
Al alimentarlo por la red local, seguramente dejará de comprar las caras baterías de 9 V, dejándolas como máximo para las ocasiones de emergencia, en las que el uso móvil se haga necesario.
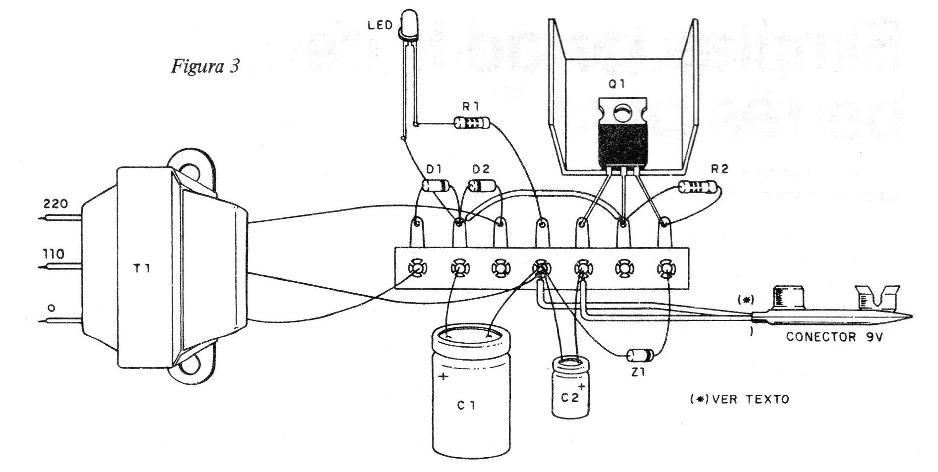
El circuito es simple: una fuente regulada que proporciona una tensión cerca de 9 V, con corriente compatible con los aparatos que usan baterías. (figura 1)
El transformador debe tener un mínimo de 100 mA.
El transistor de potencia debe estar dotado de un radiador de calor.
La adaptación en la radio no existe: con la utilización de un conector de batería, pero con las conexiones invertidas, se conecta directamente el uno en el otro.
En el montaje en puente (figura 2), intencionalmente invertimos la conexión del conector para que el negativo (negro) de uno corresponda al positivo (rojo) del otro.
De este modo, el polo positivo de la fuente realmente quedará conectado al polo positivo del aparato alimentado.
El cable de conexión del eliminador al aparato no debe ser demasiado largo, ya que algunos problemas pueden ocurrir.
Si aparecen ruidos o oscilaciones, un condensador de 100 nF debe conectarse en paralelo con el conector de la radio.
Como no usamos interruptor para encender y apagar la fuente, un LED indicador evita que se olvide conectada, con lo que habrá gasto innecesario de energía.





