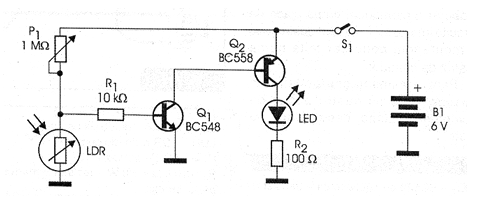
El circuito presentado en la figura 1 hace encender un LED blanco de alto rendimiento cuando falta luz, es decir, cuando el LDR deja de recibir la luz ambiente.

Evidentemente, tiene una llave para apagar el circuito que ya no necesitamos de luz, incluso en ausencia de luz ambiental.
Tenemos entonces un circuito en el que un LDR, al dejar de recibir luz, permite que P1 polarice la base del transistor Q1 que satura. Con la saturación de Q1, el transistor Q2 también es polarizado y con ello conduce la corriente que enciende el LED.
El punto de disparo del circuito, es decir, su sensibilidad se ajusta en P1.
El circuito puede ser alimentado con 4 pilas pequeñas e instalado en una pequeña caja plástica.
En la figura 2 damos una sugerencia de montaje en puente de terminales que es una versión recomendada a los lectores menos experimentados.

Es claro que los lectores más experimentados pueden hacer el montaje en placa de circuito impreso y, si es para demostración, en una matriz de contactos.
La resistencia R1 puede reducirse si el LED admite una corriente mayor. El valor mínimo recomendado es 22 ohms.
Lista de material
Q1 - BC548 - transistores NPN de uso general
Q2 - BC558 - transistores PNP de uso general
LED - LED blanco de alto rendimiento
LDR - LDR común redondo
P1 - 1 M ohms - trimpot
R1 - 10 k ohms x 1/8 W - resistor - marrón, negro, naranja
R2 - 100 ohms x 1/8 W - resistor - marrón, negro, marrón
S1 - Interruptor simple
B1 - 6 V - 4 pilas pequeñas
Varios:
Placa de circuito impreso, soporte de pilas, caja para montaje, hilos, soldadura.



