Una aplicación inmediata para este circuito es en la señalización de puertas de garaje, haciendo dos lámparas parpadeando alternativamente en una frecuencia que se puede ajustar en P1.
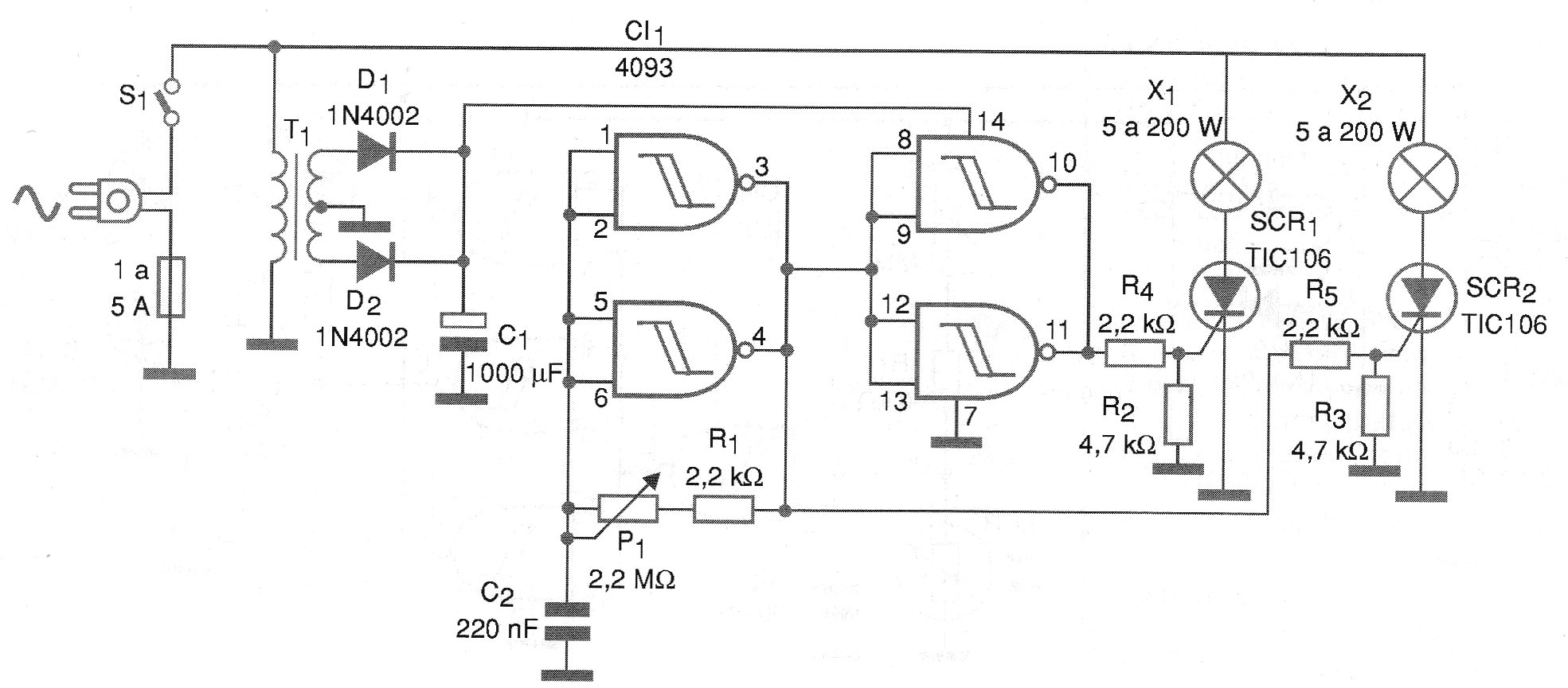
En la figura 1 mostramos el circuito completo de este parpadeante que es capaz de controlar hasta 200 W de lámparas en cada canal.
Observe que tenemos un sector de alimentación de baja tensión para el circuito integrado y un sector de alta tensión que controla las lámparas. Los terminales de tierra de los dos circuitos deben ser comunes para que haya retorno de las corrientes en cada sector. Ver que eso no hace que las tensiones que alimente los dos circuitos se mezclen.
En la figura 2 tenemos una sugerencia de placa de circuito impreso para este montaje.
Los SCRs deben estar dotados de radiadores de calor y el transformador utilizado en la fuente de baja tensión puede ser muy pequeño, con corriente a partir de unos 50 mA, pues la corriente necesaria para el disparo de los SCRs es muy baja.
Para la alimentación de las lámparas se debe utilizar el cable aislado apropiado y el fusible de protección en la entrada es muy importante. Su dimensionamiento debe ser tal que tenga de 2 a 3 veces la corriente necesaria para la alimentación de las lámparas.
La frecuencia se ajusta en P1, pero también depende del valor de C2. Para parpadeos muy lentos, el capacitor C2 puede ser aumentado.
El SCR debe tener sufijo de acuerdo con la tensión de la red. El sufijo B es para red de 110 V y el sufijo D para la red de 220 V.
Observamos que el circuito no está aislado de la red, debiendo tomarse las precauciones adecuadas para que los toques accidentales en las partes desprotegidas no causan choques.
Lista de materiales
Semiconductores:
CI-1 - 4093 - Circuito integrado CMOS
SCR1, SCR2 - TIC106 B o D - SCR según la red de energía
D1, D2 - 1N4002 - diodos rectificadores
Resistores: (1/8 W, 5%)
R1 - 100 k ohms - marrón, negro, amarillo
R2, R3 - 4,7 k ohms - amarillo, violeta, rojo
R4, R5 - 2,2 k ohms - rojo, rojo, rojo
P1 - 2,2 M ohms -trimpot o potenciómetro
Capacitores:
C1 - 1 000 uF x 16 V - electrolítico
C2 - 220 nF a 470 nF - cerámico o poliéster
Varios:
T1 - Transformador con primario según la red local y secundaria de 7,5 + 7,5 V o 6 + 6 V - corriente de 50 a 300 mA
S1 - Interruptor simple
F1 - Fusible - 1 a 4 A
X1, X2 - lámparas incandescentes según la red local y potencia hasta 200 W
Placa de circuito impreso, botón para el potenciómetro (si se utiliza), zócalo para las lámparas, radiadores de calor para los SCR, cable de alimentación, soporte para fusible, caja para montaje, hilos, soldadura, etc.





