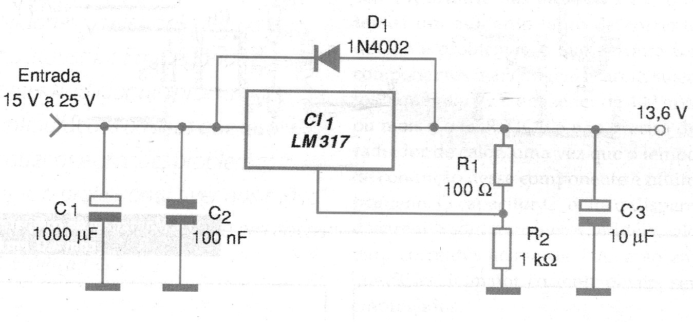
El circuito mostrado en la figura 1 es ideal para obtener una tensión regulada de 13,6 V para alimentación en la bancada de equipos de uso móvil, normalmente operando con baterías automotrices. La corriente máxima de salida es de 1,5 A, determinada por el circuito integrado LM317.
El circuito integrado debe montarse en un buen radiador de calor. Los capacitores electrolíticos deben tener tensiones de trabajo de al menos 25 V. Conviene proteger la entrada del circuito a través de un fusible. La precisión de la tensión de salida dependerá de la precisión de los resistores R1 y R2.
En la figura 2 tenemos la placa de circuito impreso para implementación de este regulador de tensión.
Lista de material
CI-1 - LM317 T - circuito integrado regulador de tensión
D1 - 1N4002 - diodo de silicio
R1 - 100 ohms x ½ W - resistor
R2 - 1 k ohms x 1/8 W - resistor
C1 - 1 000 uF x 25 V - capacitor electrolítico
C2 - 100 nF - capacitor de cerámica
C3 - 10 uF x 16 V - capacitor electrolítico
Varios:
Placa de circuito impreso, radiador de calor, hilos, soldadura, etc.





