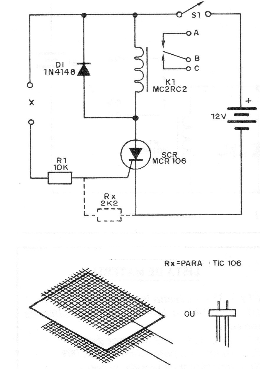
Con este circuito tenemos la activación de un sistema de aviso cuando un sensor es mojado o incluso humedecido.

   Para disparar con lluvia o fugas el sensor consiste en dos pantallas de metal separadas por un pedazo de tejido o papel poroso con un poco de sal. Después de la activación de la alarma por humedad o agua, el sensor debe ser cambiado por un seco, antes del rearme.

   Para el disparo por nivel de líquido el sensor consiste en dos pedazos de hilo con las puntas descascadas y separadas por una distancia de algunos centímetros.

   Este circuito se debe apagar y volver a conectar para rearme y se muestra en la figura 1.

 

 

Figura 1
Figura 1 | Clique na imagem para ampliar |

 

  

La placa de circuito impreso se muestra en la figura 2.

 

 

Figura 2
Figura 2 | Clique na imagem para ampliar |

 

 

 

LISTA DE MATERIAL

 

SCR - MCR106, TIC106 o C106 - SCR común

K1 - relé de 12 V

DI - 1N4148 o 1N914 - diodo de uso general

X - sensor - ver texto

S1 - interruptor simple

R1 - 10 k X 1 / 8W - resistor (marrón, negro, naranja)

B1 - 12 Voy 8 pilas medias

Varios: placa de circuito impreso, hilos, material para el sensor, soporte para pilas (2 de 4 pilas), etc.