Los circuitos integrados LM317 (1,5 A) y LM350 (3 A) son reguladores de tensión de 3 terminales ajustables que pueden proporcionar tensiones de salida de 1,25 a 37 V.
El LM317 tiene una versión con sufijo HV que puede proporcionar tensiones de hasta 57 V.
Utilizando estos componentes podemos elaborar fuentes de alimentación ajustables con un mínimo de componentes externos.
Los dos circuitos integrados están disponibles tanto en envolturas TO-220 (plástico) como TO-3 metálico, con los pinos mostradas en la figura 1.
Para implementar una fuente de alimentación variable con estos circuitos integrados, basta con colocar un divisor resistivo variable entre la salida y el terminal de ajuste.
Como el diodo zener de referencia interna es de 1,25 V esta es la tensión mínima que obtenemos.
Tensiones mayores se obtendrán cuando el divisor resistivo sumar su tensión a ese diodo.
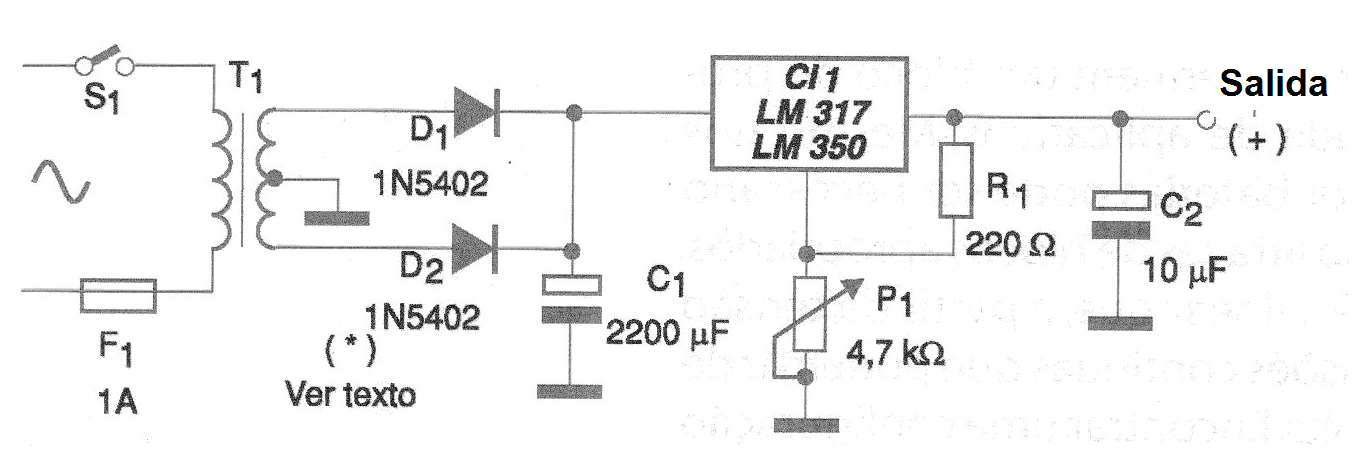
En la figura 2 tenemos una fuente de alimentación típica basada en estos dos circuitos integrados.
El transformador se elige para tener un secundario que proporcione una tensión por lo menos 2 volts mayor que la tensión máxima que se desee en la salida.
Para el capacitor electrolítico de filtro es práctico utilizar al menos 1 000 uF para cada amperio de corriente deseado en la fuente.
Así, sugerimos 2 200 uF para el LM317 y 4 700 uF para el LM350 A, operando en sus capacidades máximas.
La tensión de trabajo de este condensador debe ser al menos un 60% mayor que la tensión RMS del secundario del transformador usado.
En la figura 3 tenemos la sugerencia de placa de circuito impreso para el montaje de esta fuente.
Las pistas de alta corriente deben ser anchas. Es práctica común dejar 1 mm de ancho para cada amperio de corriente, en este tipo de aplicación.
Los circuitos integrados reguladores, para los dos casos, deben estar dotados de excelentes disipadores de calor.
Lista de material
CI-1 - LM317 o LM350 - circuito integrado regulador de tensión - ver texto
D1, D2 - 1N5402 o 1N5404 - diodos rectificadores
C1 - 2 200 uF o 4 700 uF - capacitor electrolítico - ver el texto
C2 - 10 uF - capacitor electrolítico - ver texto
T1 - Transformador - ver texto
S1 - Interruptor simple
F1 - Fusible de 1 A
Varios:
Placa de circuito impreso, radiador de calor para el transistor, cable de alimentación, hilos, soldadura, etc.






