Si bien existen LEDs bicolores con parpadeante ya incluido, en una aplicación práctica pueden no ser accesibles.
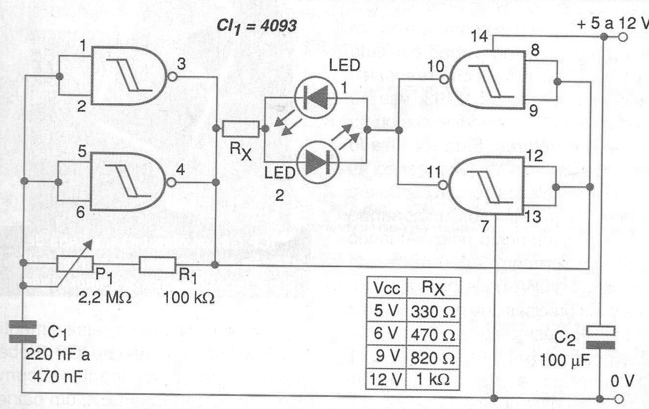
El circuito que mostramos en la figura 1 ofrece una solución rápida y sencilla para hacer dos LED (de colores diferentes o no) parpadeando alternativamente a una frecuencia que se puede ajustar en una amplia gama de valores.
La frecuencia depende de C1 y también del ajuste del trimpot P1.
El resistor Rx de limitación de corriente en los LED depende de la tensión de alimentación y su valor es dado por la tabla junto al diagrama.
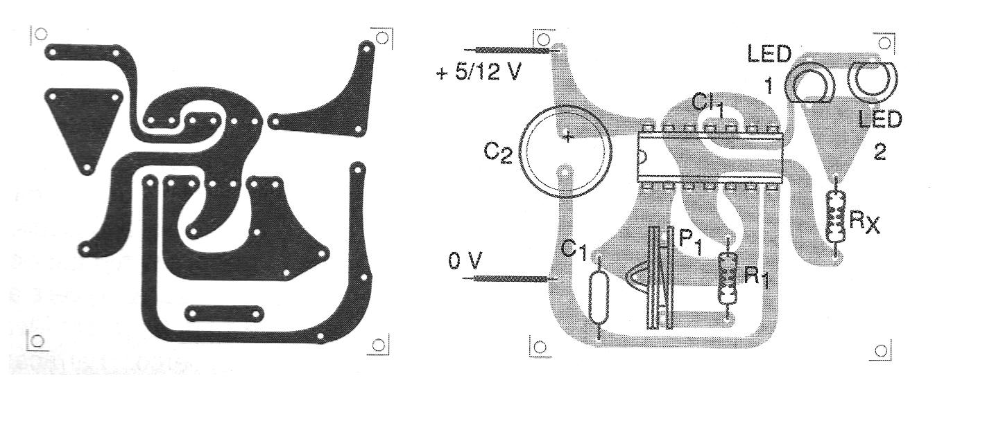
En la figura 2 damos una sugerencia de placa de circuito impreso para implementación de este circuito.
Observamos que la fijación del resistor entre los pines 4 y 6 permite la obtención de frecuencia fija con mayor economía para el montaje.
El capacitor C2 de desacoplamiento de la fuente es opcional.
LISTA DE MATERIAL
CI-1 - 4093 - circuito integrado CMOS
LED1, LED2 - LEDs comunes de cualquier color
R1 - 100 k ohms x 1/8 W - resistor - marrón, negro, amarillo
Rx - ver texto - resistor de 1/8 W según tensión de alimentación
P1 - 2,2 M ohms - trimpot
C1 - 220 nF a 470 nF - capacitor de cerámica o de poliéster
C2 - 100 uF - capacitor electrolítico
Varios:
Placa de circuito impreso, hilos, soldadura, etc.





