Este simple circuito se puede utilizar para reforzar el sonido de pequeñas radios y otros aparatos de sonido que funcionan con dos pilas o batería de 9 V. Con un transistor de potencia y un altavoz pesado en un altavoz puede proporcionar un sonido excelente.
El circuito puede ser alimentado por 4 pilas o fuente de 6 V y el transistor debe estar dotado de radiador de calor. El único ajuste se realiza en un trimpot para que el sonido salga con buen volumen sin distorsión. El transformador puede ser del tipo de salida encontrado en pequeñas radios o incluso un transformador de alimentación con secundario de 5 a 12 V y corriente de 100 a 250 mA.
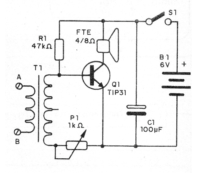
El montaje es muy simple lo que hace el diseño ideal para principiantes. En la figura 1 tenemos el diagrama completo del reforzador que nada más es que una etapa de potencia de audio.
El montaje se realiza en puente de terminales. Si el reproductor utiliza el aparato durante largos intervalos de tiempo, es conveniente utilizar la fuente, ya que el consumo es algo alto. En la figura 2 tenemos el montaje en puente.
La entrada del circuito debe conectarse al jack de auriculares del radito u otro aparato de sonido con salida mono. Para la salida estéreo se debe realizar una adaptación o bien montadas dos unidades como ésta, una para cada canal.
Para probar, conecte el sonido a la entrada, abra un poco el volumen y ajuste P1 para tener un sonido puro y de buena intensidad. El volumen excesivo de excitación causará distorsión.
Lista de material
Q1 - TIP31 - transistores NPN de potencia
R1 - 47 k ohms x 1/8 W - resistor - amarillo, violeta, naranja
P1 - 1 k ohms - trimpot
C1 - 100 uF x 12 V o más - capacitor electrolítico
T1 - Transformador - ver texto
FTE - 4 ó 8 ohms - altavoz de al menos 10 cm
S1 - Interruptor simple
B1 - 6 V - 4 pilas o fuente
Varios: puente de terminales, soporte de pilas, altavoz para el altavoz, cables, conector, soldadura, etc.





