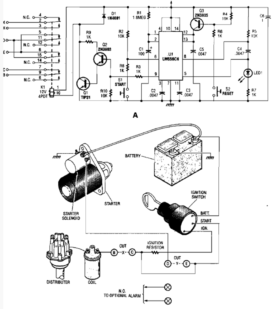
Este circuito desactiva el sistema de encendido después de un tiempo determinado al salir del vehículo. En caso de robo, el ladrón ve que el vehículo se detiene después de un tiempo determinado al salir y asume la conducción. El circuito es de uma Popular Electronics de los años 80.




