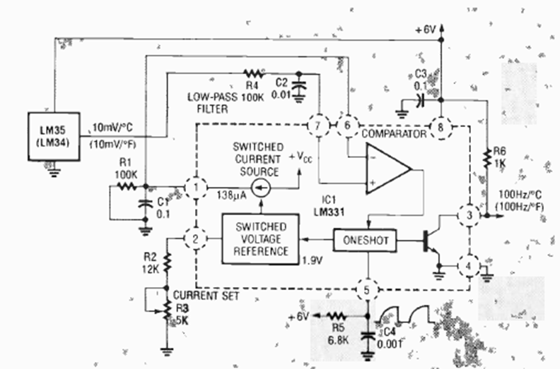
Encontramos este circuito en la edición de marzo de 1992 de la revista Radio Electronics. El circuito proporciona 100 Hz por cada grado Celsius o Fahrenheit.
En la figura 1 tenemos un ultra-simple probador de continuidad en el que el "super-transistor" se utiliza para...
Esta es la versión más simple que se puede construir de una luz rítmica con lámpara de neón. La...
Este es un montaje para quien está aprendiendo electrónica o necesita un circuito simple que haga...