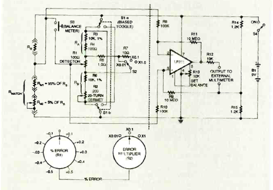
Encontramos este circuito en la revista Electronics Now de noviembre de 1995. El circuito es más preciso que el anterior utilizando un multímetro externo como indicador.
En muchos montajes descritos en este sitio de web y en nuestras otras publicaciones hacemos uso de...
El principio de funcionamiento de este circuito es el mismo que el de un cargador convencional de...
Si bien las transmisiones en AM tienden a desaparecer, así como los receptores, un viejo radito...