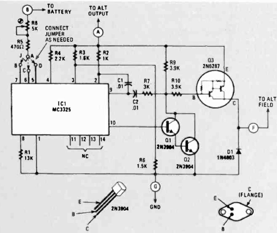
Este circuito fue encontrado en la revista Radio Electronics de junio de 1980. El circuito hace uso de un integrado de la época y de una potencia Darlington que debe estar equipada con un disipador de calor.
Este circuito genera una señal de pequeña potencia en el rango superior de la gama de VHF. La...
Ya hemos descrito en nuestro sitio y en nuestras publicaciones diversas versiones del juego del...
La acción rápida de conmutación del 4093 ayuda a obtener un circuito de interruptor nocturno que no se...