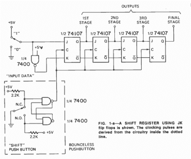
Encontrado en un artículo de la revista Radio Electronics de diciembre de 1974, este circuito tiene propósitos educativos y puede usarse para enseñar cómo funciona un registro de desplazamiento (shift register). A las salidas se pueden conectar LED.
Este circuito genera una señal de pequeña potencia en el rango superior de la gama de VHF. La...
Ya hemos descrito en nuestro sitio y en nuestras publicaciones diversas versiones del juego del...
La acción rápida de conmutación del 4093 ayuda a obtener un circuito de interruptor nocturno que no se...