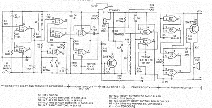
Este circuito fue encontrado en un artículo de la revista Radio Electronics de mayo de 1975. El circuito tiene varias características y funciona con una fuente de 12 V o una batería.
Los circuitos de alta frecuencia, como los que operan con señales de FM, son críticos no debiendo...
Las lámparas neón son elementos activos de circuitos que se caracterizan por presentar una región de...
Muchos proyectos que utilizan circuitos integrados de amplificadores operacionales, como el 741,...