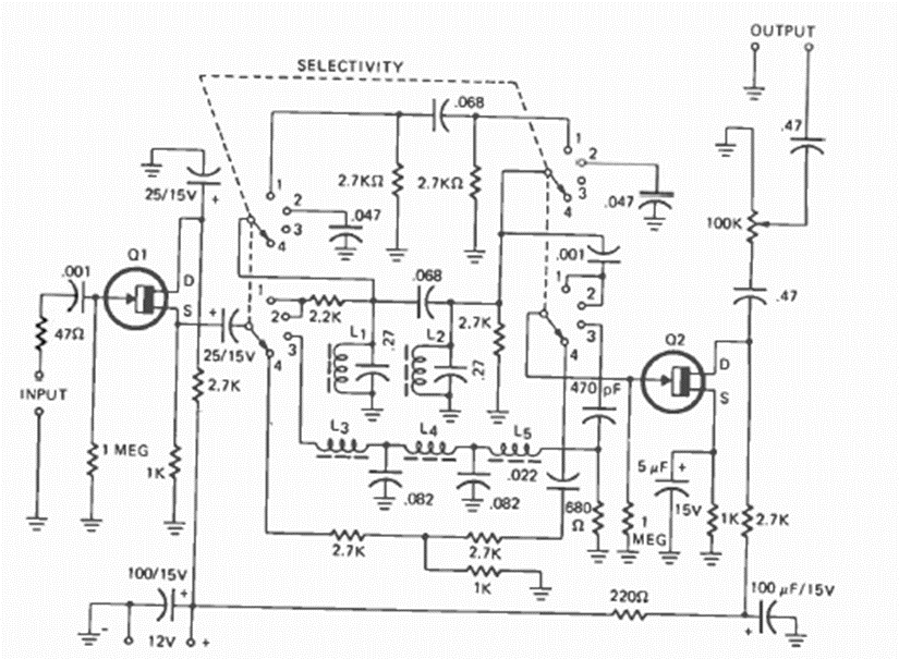
Este sofisticado filtro para señales de audio fue encontrado en la revista Radio Electronics. Las frecuencias están determinadas por circuitos LC. El circuito tiene selectividad seleccionada mediante un interruptor.
Los circuitos de alta frecuencia, como los que operan con señales de FM, son críticos no debiendo...
Las lámparas neón son elementos activos de circuitos que se caracterizan por presentar una región de...
Muchos proyectos que utilizan circuitos integrados de amplificadores operacionales, como el 741,...