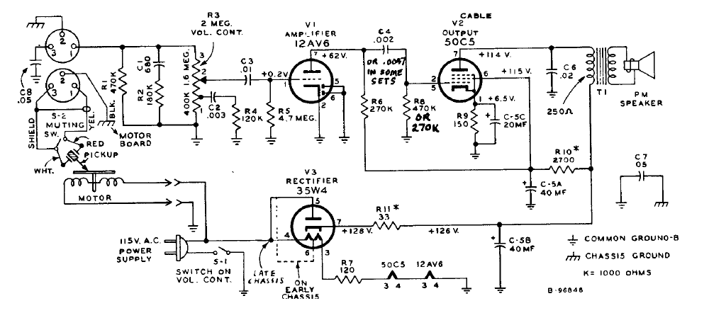
Este circuito, encontrado en un manual de 1950, m utilizaba 3 válvulas en una configuración de pocos vatios de salida. El circuito tenía los filamentos en serie y ya alimentaba el motor del tocadiscos.
Las radios transistorizadas simples se pueden hacer en infinitas configuraciones. Presentamos una...
Este reforzador de señales permite mejorar la recepción de su radito de ondas medias y cortas (no...
Muchos proyectos que hacen uso de transistores y circuitos integrados son alimentados por una...