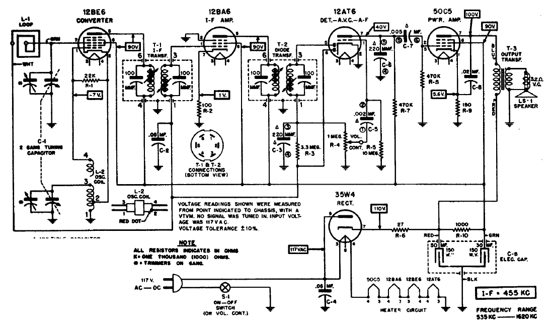
Esta radio AC DC de 5 válvulas tiene una configuración común, con FI de 455 kHz. Los filamentos de las válvulas se conectan en serie.
Con este circuito podemos alimentar pequeños aparatos que usan baterías de 9 V a partir de la red...
El circuito mostrado en la figura 1 es una solución rápida para dirigir una carga externa a través...
¿Qué tal montar un intercomunicador secreto para conversar con su hermano, vecino o compañero sin que...