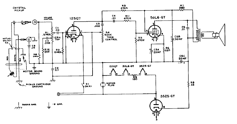
Encontrado en un manual de la época este simple amplificador, con potencia del orden de 1 W tenía los filamentos conectados en serie y entrada para fonocaptor de cristal.
Con este circuito podemos alimentar pequeños aparatos que usan baterías de 9 V a partir de la red...
El circuito mostrado en la figura 1 es una solución rápida para dirigir una carga externa a través...
¿Qué tal montar un intercomunicador secreto para conversar con su hermano, vecino o compañero sin que...