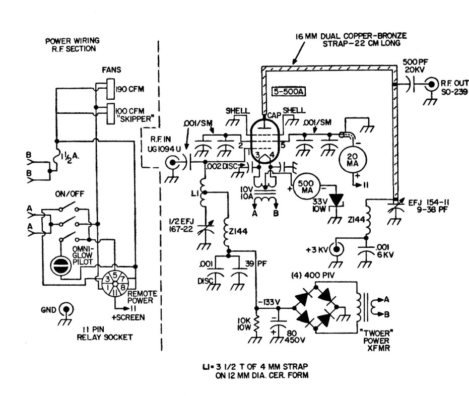
Este circuito de alta potencia para radioaficionados es de una documentación de los años 80. La alimentación es de 3000 V para el ánodo de la válvula, lo que requiere especial cuidado en la elaboración del montaje.
Las radios transistorizadas simples se pueden hacer en infinitas configuraciones. Presentamos una...
Este reforzador de señales permite mejorar la recepción de su radito de ondas medias y cortas (no...
Muchos proyectos que hacen uso de transistores y circuitos integrados son alimentados por una...