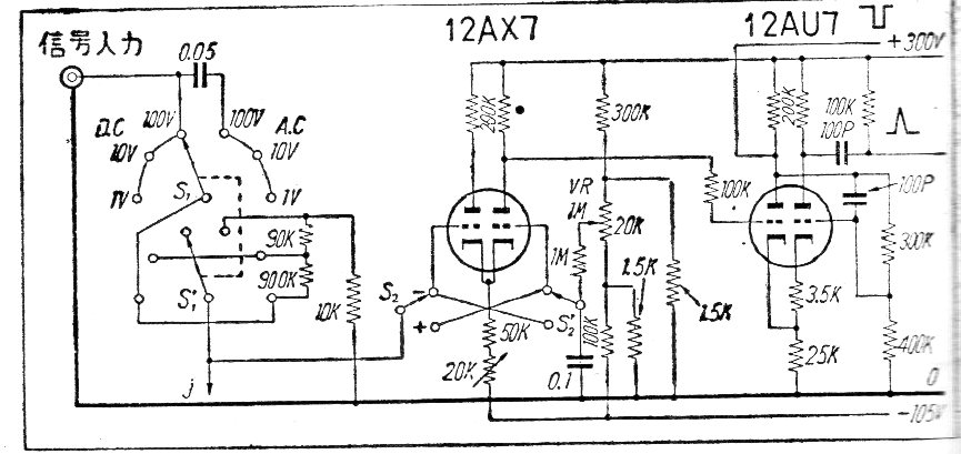
Este circuito genera pulsos de duración determinada por los componentes seleccionados. El circuito fue encontrado en una documentación japonesa de los años 60. No se incluye la fuente de alimentación.
Cuando aprieta el gatillo (S1) y el relé abre y cierra los contactos rápidamente produciendo un ruido...
Encontramos este circuito en una documentación francesa antigua. El transistor usado es poco común...
Para mostrar las posibilidades que las placas de circuitos impresos universal ofrecen a los...