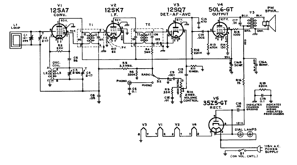
Este receptor de 5 válvulas de la década de 50 se destinaba a la recepción de las estaciones de la banda de ondas medias. La configuración era bastante simple con los filamentos de las válvulas conectadas en serie.
Las radios transistorizadas simples se pueden hacer en infinitas configuraciones. Presentamos una...
Este reforzador de señales permite mejorar la recepción de su radito de ondas medias y cortas (no...
Muchos proyectos que hacen uso de transistores y circuitos integrados son alimentados por una...