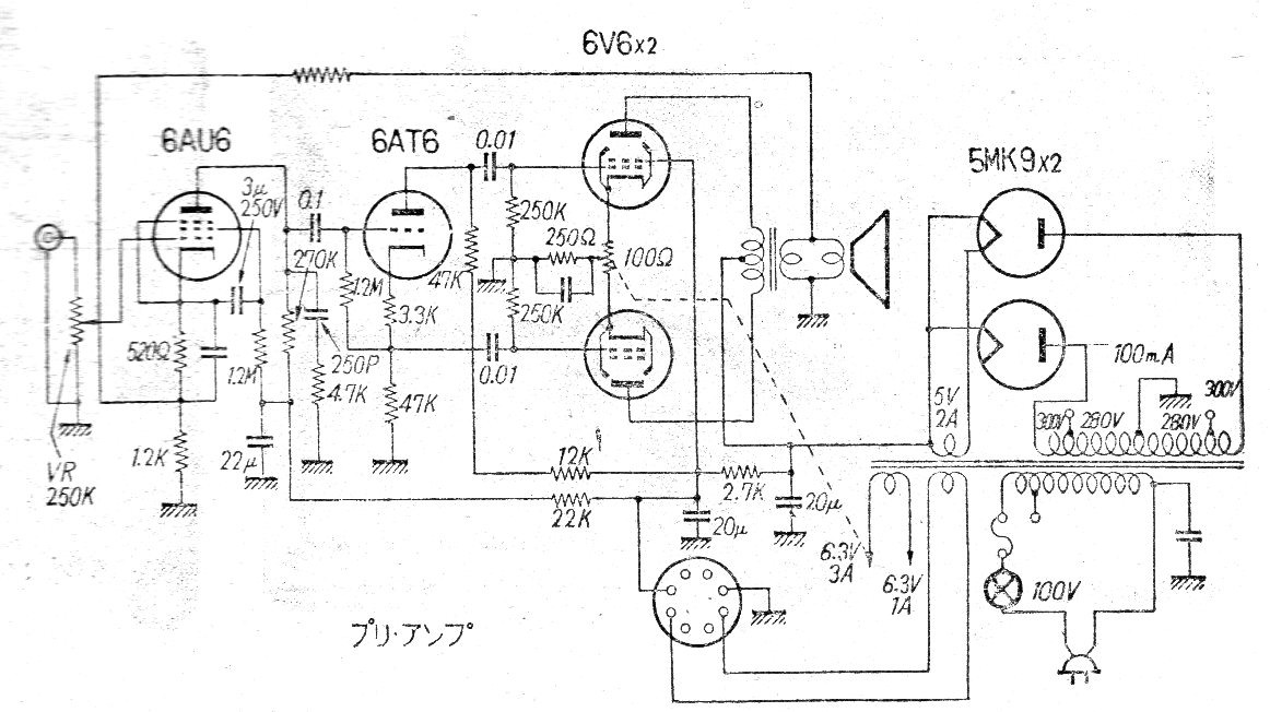
El preamplificador para el circuito presentado es el V703S. Encontramos este circuito en una documentación japonesa de 1955. La salida es empush-pull clase B con las conocidas válvulas 6V6, potiles de potencia. La fuente utiliza dos válvulas rectificadoras.




