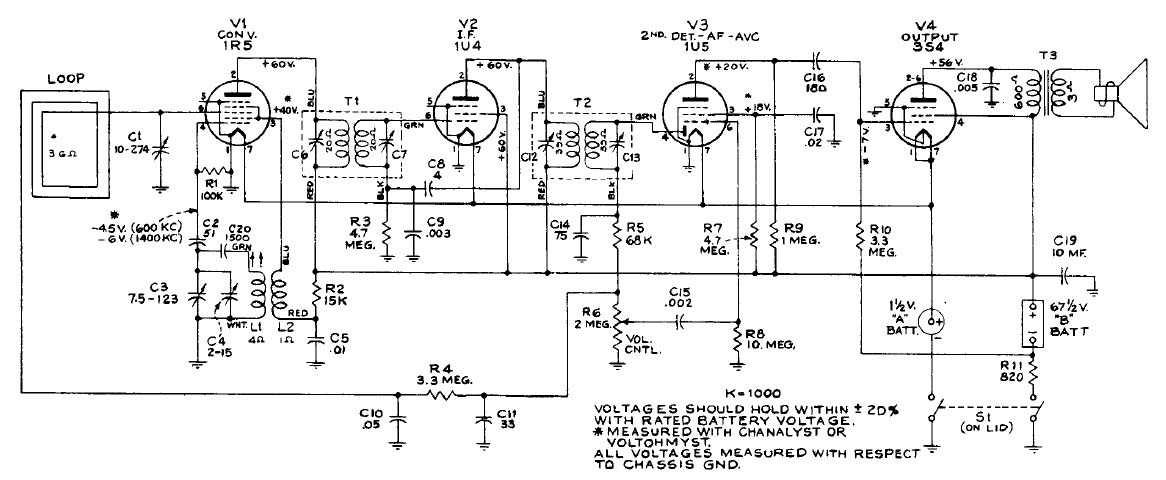
Los receptores portátiles de la época eran alimentados por dos baterías, una de baja tensión y otra de alta tensión. Es el caso de este circuito para ondas medias de la RCA.
Sugerido por General Electric en una publicación de 1967, este circuito utiliza un SCR de la...
Este circuito controla dos relés desde un solo sensor de temperatura. El primer dispara cuando la...
Encontramos este circuito en una antigua documentación estadounidense. La precisión tiene un error...