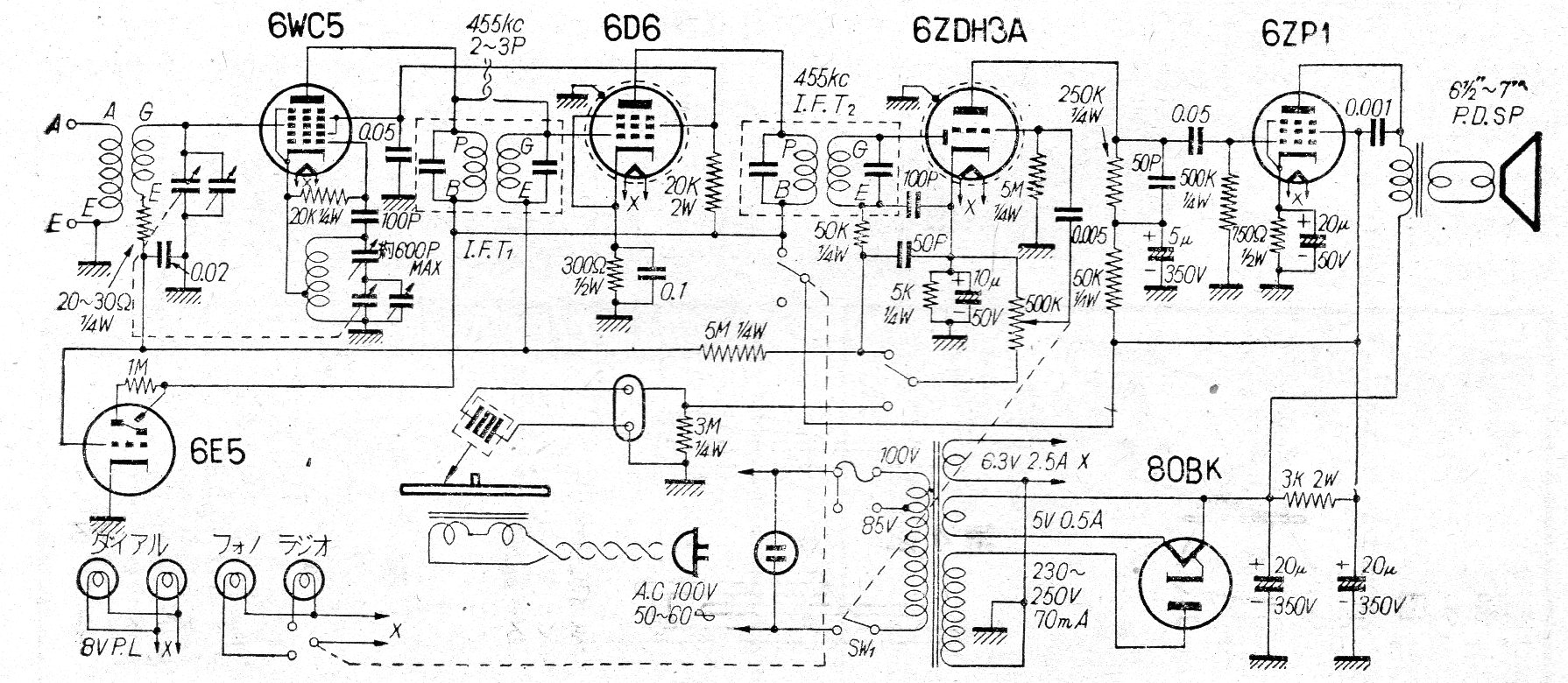
Este es el circuito de una radio con tocadiscos de mesa vendidos en Japón en los años 50. La radio con la banda de AM sólo tenía un tocadiscos con amplificador de algunos watts y buena calidad de sonido. Algunas válvulas usadas son poco comunes.
Cuando uno de los sensores está abierto, el microalarme emite un sonido que depende de R2 y del...
Este simple circuito se puede utilizar para reforzar el sonido de pequeñas radios y otros aparatos de...
Un solo circuito integrado es la base de este oscilador que puede proporcionar una potente señal de...