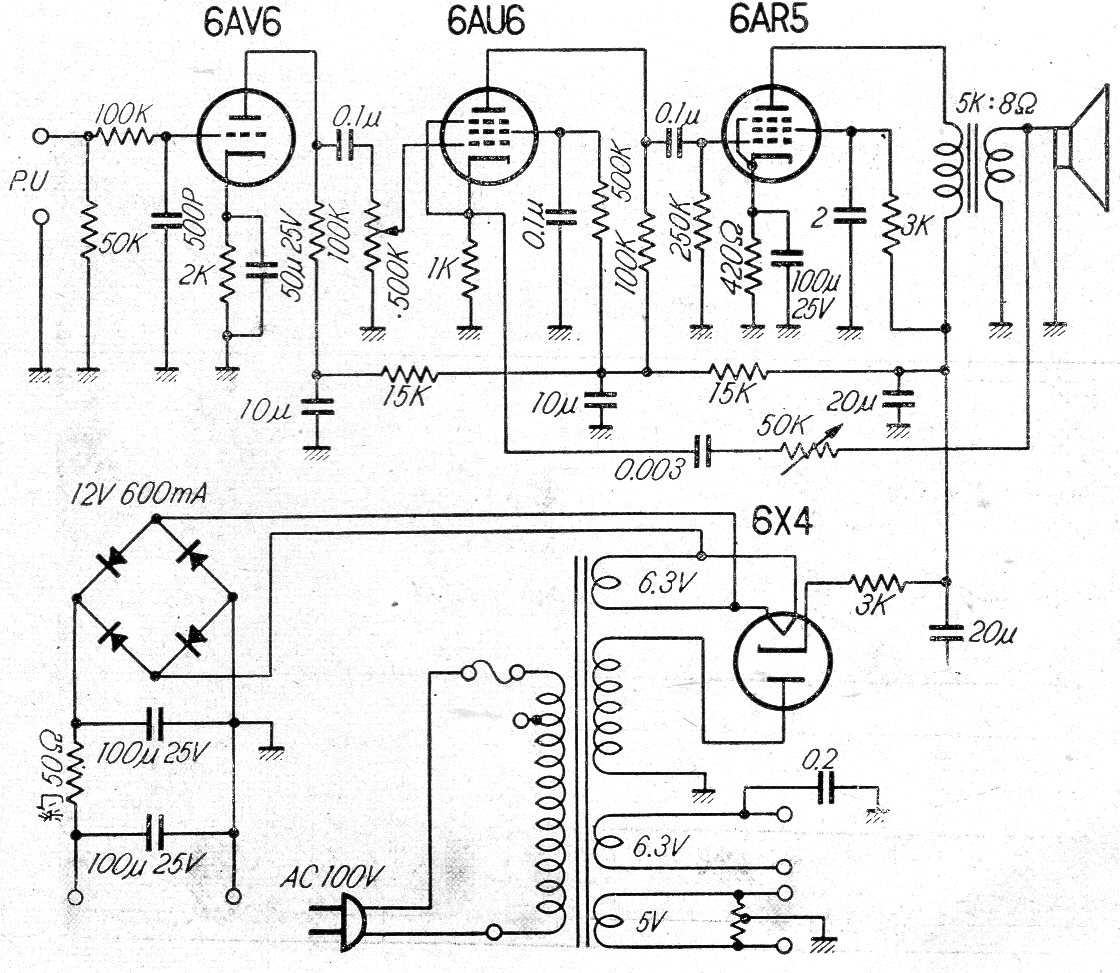
Este amplificador de algunos watts de potencia para alta fidelidad fue encontrado en una revista japonesa de los años 60. El circuito utiliza una sola válvula en la salida y los componentes más críticos además de las válvulas, son los transformadores.




